公司新闻
柔性屏的“灵魂材料”-纳米银
因为纳米银是柔性屏的“灵魂材料”,纳米银线是一种导电材料,将纳米银线墨水材料涂布在塑胶或者玻璃基板上,然后利用镭射光刻技术,刻画制成具有纳米级别银线导电网络图案的透明的导电薄膜。
由于原材料主要以银和纳米构成,因此纳米银线既具有良好的导电性,又具有优异的透光性、以及耐曲挠性,可以被用来制作超小电路。

相比之下,纳米银线在工艺制程上就拥有得天独厚的优势:
生产工艺简单、良率高。由于线宽较小,银线技术制成的导电薄膜相比于金属网格技术制成的薄膜可以达到更高的透光率。再次,纳米银线薄膜相比于金属网格薄膜具有较小的弯曲半径,且在弯曲时电阻变化率较小,应用在具有曲面显示的设备,例如智能手表,手环等上的时候,更具有优势。银纳米线除具有银优良的导电性之外,由于纳米级别的尺寸效应,还具有优异的透光性、耐曲挠性。此外由于银纳米线的大长径比效应,使其在导电胶、导热胶等方面的应用中也具有突出的优势。
柔性屏的遗珠
现如今,纳米银线已被视为是未来柔性OLED的主要材料。或许有人会问,柔性OLED炒作至今,产业链上的各个环节,诸如基板、模组、屏膜等都已被挖了个底朝天,为何却唯独忽略纳米银线?这样的提问不无道理。就目前来看,三星、华为等已经公布将发布可折叠屏手机的厂商都未曾曝出采用的是纳米银线材料;那么,是不是纳米银线不受待见?
来看一则5年前的新闻。2014年,有外媒报道,苹果的Iwatch正式采用的TPK宸鸿的纳米银线薄膜技术,而苹果的这一举动完全可以视作是为纳米银线的背书。
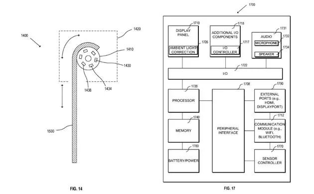
而在2月19日下午,世界知识产权组织(WIPO)展示了苹果公司一项最新专利,该专利用于Apple Watch,利用柔性屏幕让手表的表盘和表带都可以作为显示屏。

柔性屏幕延伸到表带
这项专利描述的是如何将柔性屏幕应用到可穿戴设备。近段时间,有关柔性屏,或者说可折叠屏幕手机成为一大看点,各大手机厂商准备拿出自己的可折叠方案。苹果公司也于近期修改了可折叠屏幕iPhone的专利,而今天这项专利则描述了一个配有柔性屏幕的可穿戴设备。
更大的屏幕不仅意味着功能增加,还能给整支手表的外观增色不少。因为屏幕环绕了整个表带,所以用户可以随时改变Apple Watch表带的颜色。

努比亚的可穿戴手机
事实上,将柔性屏幕用到可穿戴设备的想法并不新鲜,早前努比亚曾尝试可穿戴手机的概念,试图将智能手机做成手表的样式。

可卷曲设备专利描述
从另一张曝光的专利来看,苹果似乎有一个更大的计划——将柔性屏幕带到显示器上。其中一张专利图上的设备配备了HDMI和DisplayPort接口。事实上在这之前,我们已经见识过LG推出的OLED可卷曲屏幕电视,可以将电视屏幕收到电视底座中。苹果这项专利描述的是类似的技术。

LG可卷曲电视能将屏幕收到底座中
这并不稀奇,如今几乎所有厂商都在研究柔性屏幕,苹果当然也不想错过。虽然不知道什么时候才能见到苹果推出这样的产品(因为这家公司多以稳健著称,一项新功能或新设计推出就意味着它的体验是可靠的),但至少现在我们知道苹果有这方面的计划。
此外,在三星、华为相继发布折叠屏手机后,苹果也已正式加入柔性屏战局;日前,苹果更新了一项专利,其中绘制了一款可折叠iPhone的样子。

从苹果近期的两次举动可以看出,其之所以落后三星、华为推出可折叠屏手机,更像是在憋一个大招。试想一下,5年前,苹果已经采用纳米银线材料;5年后,当苹果正式加入折叠屏战局之际,它的杀手锏会不会是纳米银线?
就在今日(2月20日),媒体爆出,苹果合作商宸鸿科技计划于2019年第四季度开始批量生产纳米银线触控面板,以满足日益增长的柔性OLED手机屏幕需求,这无疑又给纳米银线增添了想象力。
中美专利的下一个“交集”
虽然说目前国内的纳米银线市场几乎被美国企业垄断,但这并不代表中国企业没有技术可言。就以此次打响“纳米银线专利战”的两家公司Cambrios和C3Nano来说:Cambrios成立于2004年,是目前全球拥有最多纳米银线专利的企业,已获得国内外157项专利,范围涵盖材料,成膜,制程与应用各个层面。同时,Cambrios是全球首家量产纳米银线并成功商业化的公司,也是市场上最大的纳米银线供应商。而当前,Cambrios的技术专利也早已为中国所用。
2017年, Cambrio在晋江成立晋江天材创新材料 (CAM China),将最先端的纳米银线制造生产技术从美国硅谷移回中国晋江实施落地。2018年6月,Cambrios与中国企业苏州诺菲纳米科技有限公司就纳米银相关专利完成交互许可,透过授权合作,将携手推进纳米银科技行业的发展。再来看C3Nano,其是一家致力于开发在广泛电子应用领域使用的新材料及化学技术的先进材料公司,是触控、显示及柔性电子产业核心技术和以纳米银为基础的透明导电技术的领导者。然而,在其投资人和合作伙伴的名单中,出现多个中国机构或企业的身影。据悉,C3Nano的投资人和合作伙伴包括金沙江创投、凤凰创投、日本写真、日立化成、蓝思科技、长濑美国,以及其他一些未披露的投资人,其中包括一家总部位于硅谷的全球顶级移动互联网技术公司。显然,在纳米银线技术发展进程中,中美企业又多次相互出现交集,说不定,这会成为下一个中美专利的“交集”。
